BMW’den tamiri zorlaştıran patent: Logo biçimli vida tartışma yarattı
BMW’den tamiri zorlaştıran patent: Logo biçimli vida tartışma yarattı
BMW, standart el aletleriyle sökülemeyen, baş kısmı BMW logosu şeklinde tasarlanmış özel vidalar için patent aldı. Hamle, araç sahiplerini ve özel servisleri yetkili servislere yönlendirebileceği gerekçesiyle “tamir hakkı” tartışmalarını yeniden alevlendirdi.
Haber Giriş Tarihi: 25.12.2025 13:41
Haber Güncellenme Tarihi: 25.12.2025 13:42
Kaynak:
Haber Merkezi
https://haberdeger.com/
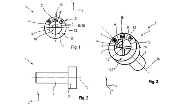
Alman otomotiv devi BMW, Dünya Fikri Mülkiyet Örgütü (WIPO) tarafından 11 Aralık 2025’te yayımlanan patent belgeleriyle gündeme geldi. Belgelerde, baş kısmı BMW ambleminin dört parçalı karakteristik yapısını taşıyan özel vida tasarımları yer aldı. Bu vidaların sökülüp takılması için yalnızca özel bir aparat gerektirdiği belirtiliyor.
Standart tornavidaya veda
Patent dosyasına göre vida başları; düz, yuvarlak ve yuvalı varyasyonlar dahil olmak üzere farklı formlarda tasarlandı. Ancak ortak özellik, klasik yıldız, düz ya da alyan tornavidalarla uyumsuz olmaları. Girintili ve çıkıntılı yüzeylerden oluşan bu yapı, BMW bayileri ve yetkili servislerde bulunacak özel bir alet kullanılmasını zorunlu kılıyor. Tasarımın motor bölmesi, iç mekân ve dış paneller gibi birçok noktada uygulanabileceği ifade ediliyor.
“Tamir hakkı” savunucularından tepki
Son yıllarda bazı üreticiler tamiri kolaylaştırmak için yapıştırıcıdan vidaya geçerken, BMW’nin bu yöndeki yaklaşımı eleştiri topladı. Uzmanlar, bu patentin hayata geçmesi hâlinde basit işlemler için bile kullanıcıların yetkili servislere bağımlı kalabileceğini savunuyor. Bu durumun, tüketicilerin kendi araçlarını onarma özgürlüğünü sınırladığı görüşü öne çıkıyor.
İnternetin çözümü hazır mı?
Sosyal medyada ve otomobil forumlarında konu alaycı yorumlarla karşılandı. Çok sayıda kullanıcı, uyumlu tornavida uçlarının kısa sürede AliExpress veya Temu gibi platformlarda satılacağını öne sürüyor. Bazıları ise bu vidaların yalnızca görsel detay olarak kalmasını ve kritik parçalarda kullanılmamasını umuyor.
Seri üretim belirsiz
BMW’nin 7 Haziran 2024’te başvurduğu bu tasarımın seri üretim araçlarda kullanılıp kullanılmayacağı henüz netleşmiş değil. Otomotiv üreticilerinin her patentini hayata geçirmediği biliniyor. Ancak uygulamaya alınması durumunda, BMW sahiplerinin araçlarına standart bir tornavida ile müdahale etme imkânının ciddi biçimde kısıtlanacağı ifade ediliyor.
Sizlere daha iyi hizmet sunabilmek adına sitemizde çerez konumlandırmaktayız. Kişisel verileriniz, KVKK ve GDPR
kapsamında toplanıp işlenir. Sitemizi kullanarak, çerezleri kullanmamızı kabul etmiş olacaksınız.
En son gelişmelerden anında haberdar olmak için 'İZİN VER' butonuna tıklayınız.
BMW’den tamiri zorlaştıran patent: Logo biçimli vida tartışma yarattı
BMW, standart el aletleriyle sökülemeyen, baş kısmı BMW logosu şeklinde tasarlanmış özel vidalar için patent aldı. Hamle, araç sahiplerini ve özel servisleri yetkili servislere yönlendirebileceği gerekçesiyle “tamir hakkı” tartışmalarını yeniden alevlendirdi.
Alman otomotiv devi BMW, Dünya Fikri Mülkiyet Örgütü (WIPO) tarafından 11 Aralık 2025’te yayımlanan patent belgeleriyle gündeme geldi. Belgelerde, baş kısmı BMW ambleminin dört parçalı karakteristik yapısını taşıyan özel vida tasarımları yer aldı. Bu vidaların sökülüp takılması için yalnızca özel bir aparat gerektirdiği belirtiliyor.
Standart tornavidaya veda
Patent dosyasına göre vida başları; düz, yuvarlak ve yuvalı varyasyonlar dahil olmak üzere farklı formlarda tasarlandı. Ancak ortak özellik, klasik yıldız, düz ya da alyan tornavidalarla uyumsuz olmaları. Girintili ve çıkıntılı yüzeylerden oluşan bu yapı, BMW bayileri ve yetkili servislerde bulunacak özel bir alet kullanılmasını zorunlu kılıyor. Tasarımın motor bölmesi, iç mekân ve dış paneller gibi birçok noktada uygulanabileceği ifade ediliyor.
“Tamir hakkı” savunucularından tepki
Son yıllarda bazı üreticiler tamiri kolaylaştırmak için yapıştırıcıdan vidaya geçerken, BMW’nin bu yöndeki yaklaşımı eleştiri topladı. Uzmanlar, bu patentin hayata geçmesi hâlinde basit işlemler için bile kullanıcıların yetkili servislere bağımlı kalabileceğini savunuyor. Bu durumun, tüketicilerin kendi araçlarını onarma özgürlüğünü sınırladığı görüşü öne çıkıyor.
İnternetin çözümü hazır mı?
Sosyal medyada ve otomobil forumlarında konu alaycı yorumlarla karşılandı. Çok sayıda kullanıcı, uyumlu tornavida uçlarının kısa sürede AliExpress veya Temu gibi platformlarda satılacağını öne sürüyor. Bazıları ise bu vidaların yalnızca görsel detay olarak kalmasını ve kritik parçalarda kullanılmamasını umuyor.
Seri üretim belirsiz
BMW’nin 7 Haziran 2024’te başvurduğu bu tasarımın seri üretim araçlarda kullanılıp kullanılmayacağı henüz netleşmiş değil. Otomotiv üreticilerinin her patentini hayata geçirmediği biliniyor. Ancak uygulamaya alınması durumunda, BMW sahiplerinin araçlarına standart bir tornavida ile müdahale etme imkânının ciddi biçimde kısıtlanacağı ifade ediliyor.
En Çok Okunan Haberler